Product number:

PROD195

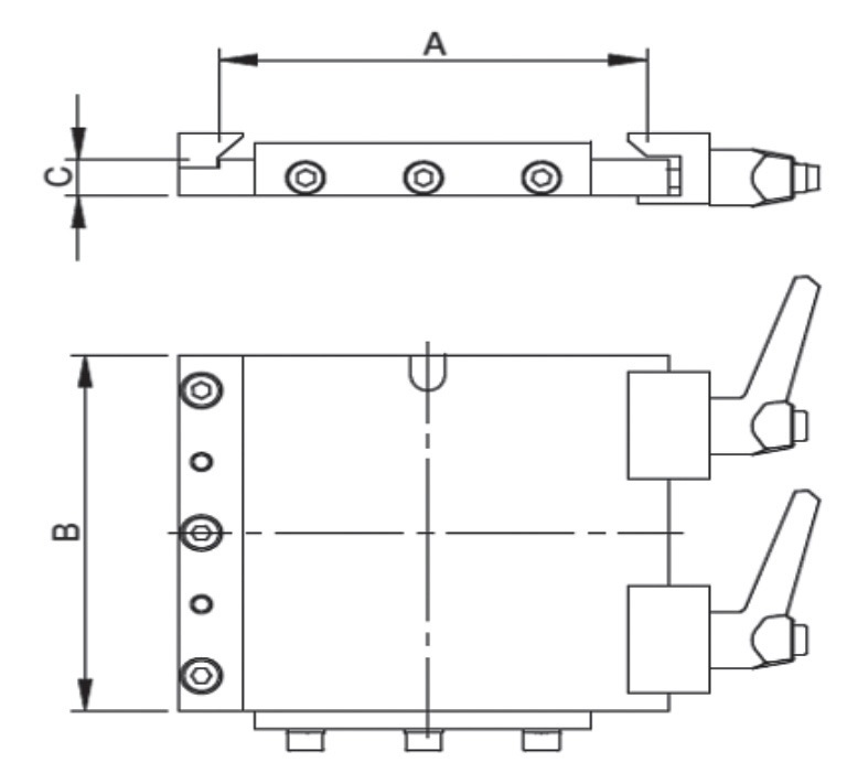
Quick changer robot side

Roborex
From €147,02Available in stock
Files
Images
Specification

Manual interface between robot and EOAT.

Works with all profile systems.